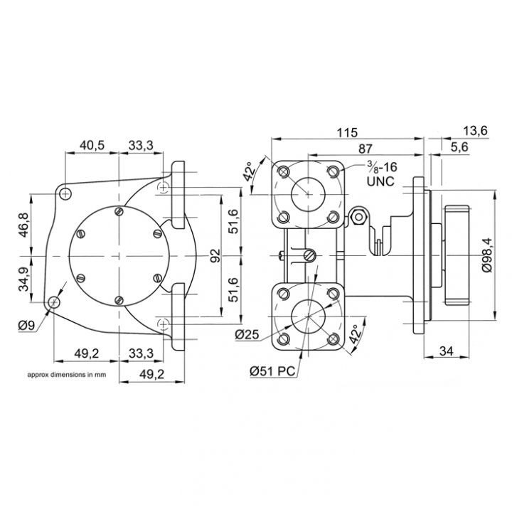
Jabsco självsugande impellerpump för kylvatten i brons.
Pumpstorlek 40 med 3/4" flänsar.
Utrustad med impeller av neopren.
• 40 l/min vid 1500 v/min
• Sughöjd på upp till 2,4m
Passar Perkins 4.236 och M90 diesel motorer.
• Anslutning 3/4″ fläns
• Passar Perkins 4.236 och Perkins M90





