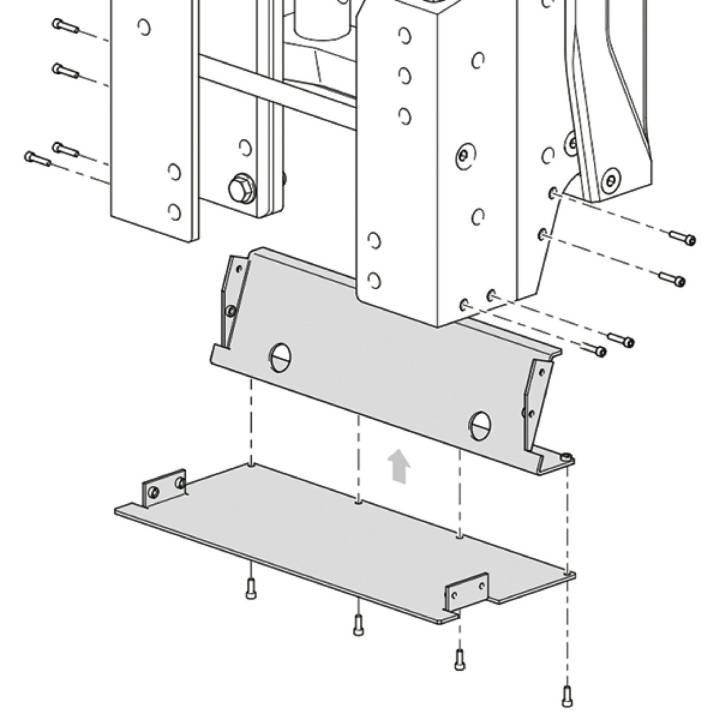
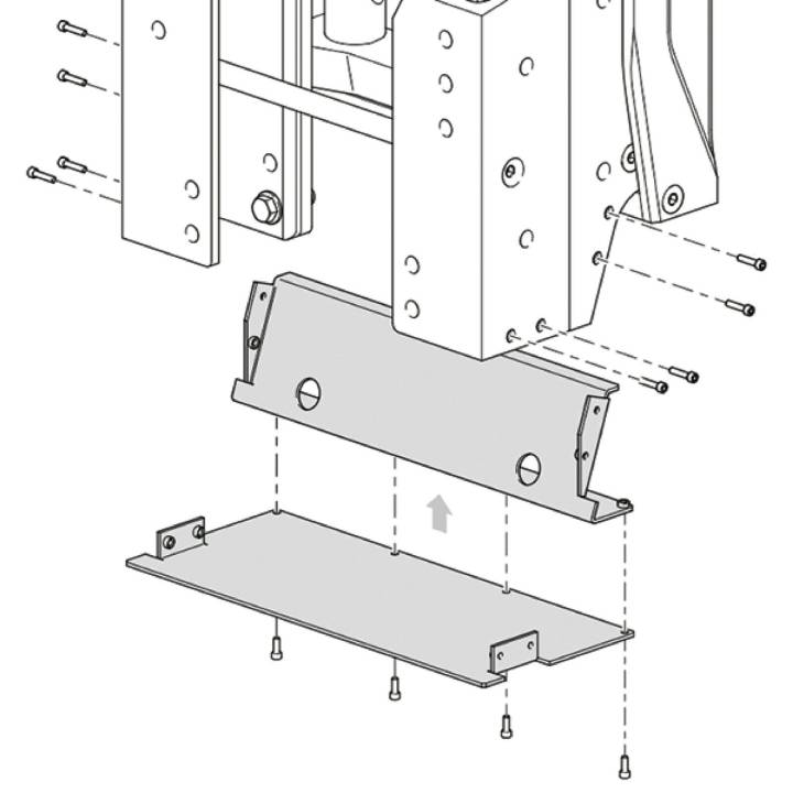
Hole Shote Plate kit förindrar att vatten sprutar upp mellan jackplate och motor, ett tillbehör som förättrar prestandan och bidrar till snabbare planing.
Jackplate Holeshot Kit
Artnr:
HSP5XX
Kampanjvara
Kampanj:
Antal:
0
Kampanjstart:
Kampanjstopp:
- Produktbeskrivning
-
- Egenskaper
-
- Leveransinformation
-
Lagersaldo: 2Frakt:




